穿越技术迷雾,指引测试之光
为电子测量仪器保驾护航,技术支持,一路相随
用示波器的计算功能分析热插拔电路
本篇应用笔记由橙子视频下载维修中心介绍如何利用示波器检测热插拔电路MOSFET功耗和负载电容的精确值。
设置示波器
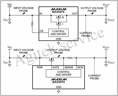
简化起见,橙子视频下载用图1所示的MAX5976热插拔电路来做演示,其内置的检流功能和带驱动的MOSFET构成了一个完整的电源切换电路(下面的测试方法同样适用于由分立元件搭的热插拔控制电路)。按图1所示方式将示波器探头连至热插拔电路,示波器即可获取计算所需信号,两个电压探头分别接输入和输出,用于检测MOSFET两端压降,电流探头用来检测流过MOSFET的电流。
图1. 示波器探头连至MAX5976或MAX5978热插拔电路,示波器则利用测试结果进行计算
这个基本连接方式同样适用于非集成的热插拔电路。测试输入和输出电压的探头分别接到MOSFET的前面和后面(MAX5976的MOSFET在内部,MAX5978则是外置MOSFET),电流探头要与电路检流电阻串联。为了测到流经开关元件的精确电流值,电流探头应该放在输入电容后,输出电容前的位置。
MOSFET功耗
开关器件(通常是n沟道MOSFET)的功耗等于漏极/源极电压差(VDS)与漏极电流(ID)的乘积。图1中,VDS是通道2和通道1的差,ID是电流探头直接测量的结果。橙子视频下载用的示波器(Tektronix® DPO3034)有一个专门的计算通道,可以通过如下(图2)菜单配置。
图2. DPO3034数字示波器的高级计算菜单可以直接编辑计算公式
通过简单编辑一个公式,实现通道1与通道2之差乘以电流探头测得的值,从而得出MOSFET功耗。当热插拔电路使能后,输出电压以dV/dt的斜率接近输入电压,流经MOSFET的输出电容充电电流(ID)为:
ID = COUT × dV/dt
当输出电容为360μF,VIN = 12V时,MOSFET导通瞬间示波器屏幕截图如图3a所示。MAX5976将瞬时浪涌电流限制在2A。注意功率波形是一个下降的斜坡,开始于12V × 2A = 24W,当输出电压升至12V时降至0W,热插拔电路以恒定电流为负载电容充电,这正是橙子视频下载所期望的。
图3a.电路中的MOSFET功耗(红色波形),COUT = 360μF,浪涌电流被限制在2A
如此方式测得的功率波形可用来判断MOSFET是否工作在其安全工作区(SOA),或根据数据资料的相关图表估算MOSFET结温的温升。根据实测波形直接进行计算的误差要小很多。另外,即使如图3b所示的浪涌电流和dV/dt都不是常数,功耗的测量波形依然精确。
图3b. 浪涌电流和dV/dt都不是常数时,测得的功耗波形依然精确。此处的浪涌电流就没有限流
如果示波器支持积分功能,则能进一步得出MOSFET在任何高耗能事件中的实际总能耗。图4新增红色曲线为利用示波器积分功能计算出MOSFET消耗的能量信息。
图4. 对功率积分可以得出图1电路中MOSFET在开启阶段的总能耗
如图3a所示,COUT为360μF,浪涌电流被限制在2A。由于功率在MOSFET开启的2ms内是一个三角形状,可以算出大约有24W/2 × 2ms = 24mJ的能量变成了热。可以看出,当MOSFET开启结束时,示波器积分功能计算出的能量数据就是24mWs (= 24mJ)!
此类功能还适用于分析MOSFET的其它瞬态事件,如关断,短路或过载。如此详尽的功率和能量数据可用来精确分析MOSFET瞬态事件发生时的SOA和温度特性。
测量负载电容
数字示波器计算功能中的积分功能还可用来测量热插拔电路中的负载电容。
假设不考虑电路阻抗对电流的影响,则负载电容值等于电容电压每变化一伏改变的电量;而电量就是电流对时间的积分。因此,对热插拔电路浪涌电流除以输出电压的值进行积分,数字示波器就可以精确计算出负载电容值大小。图5a中,热插拔控制器输出有三个10μF陶瓷电容。由于作为分母的电压初始值为零,所以计算曲线的开始阶段没有任何实际意义。但VOUT超过伏后,计算出的电容值大约为27μF。可以看出,尽管示波器的功能已经十分强大,但仍不能如橙子视频下载所希望的那样正确显示电容值单位!
图5a. 当COUT = 30μF时,图1电路测得的输出电容值。
图5b的测试和图5a相同,但在输出电容处增加了一个330μF电解电容,当MOSFET开启结束时,可以看到示波器显示结果恰好就是360μF,正是橙子视频下载所期望的。注意阻性负载会降低电容测试的精度,因为它会分流进入电容的电荷。但对于瞬态时间分析,结果依然非常有用。
图5b. 当COUT = 30μF + 330μF时,图1电路测得的输出电容
更多有关示波器维修知识欢迎访问西安橙子视频下载仪器维修网(www.hustinova.com)关注公众号:橙子视频下载测试
上一篇
下一篇
